Paslaugos Paslaugos | Skelbimas neaktualus

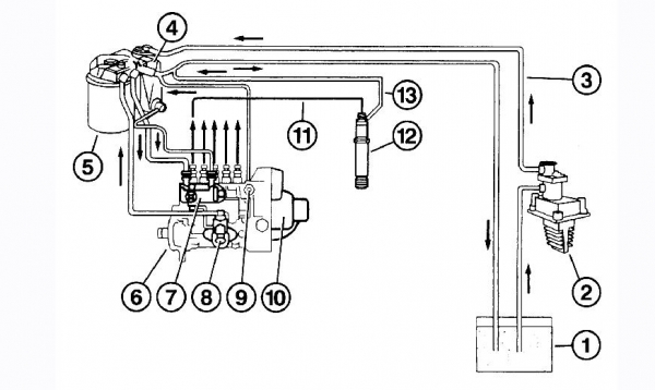
Kuro padavimo sistemos remontas


- variklių remontas ir/ar keitimas;
- paskirstymo, pagrindinio variklio diržo keitimas;
- tepalų keitimas, turime didelį tepalų pasirinkimą;
- aušinimo sistemos remontas (radiatorių kiaurymių virinimas ir pan. ) ;
*** kuro padavimo sistemos remontas;
- važiuoklių remontas ir/ar reikiamų detalių keitimas;
- transmisijos remontas;
- sankabų remontas;
- smulkių auto elektros gedimų šalinimas;
- akumuliatoriaus patikrinimas, keitimas;
- starterių ir generatorių remontas ir/ar keitimas;
- plasmasinių detalių remontas (buferių, žibintų laikiklių, apdailos juostų,
grotelių, variklio apsaugų, vidaus detalių ir pan. ) ;
- duslintuvų remontas ir/ar keitimas;
- visi virinimo darbai;
- padangų montavimas - balansavimas;
- ratlankių lyginimas, tiesinimas, remontas, įtrūkimų virinimas, paruošimas dažymui ir dažymas.
Kuro padavimo sistemos remontas
Kuro padavimo sistemos remontas
Autorius: Padangiukas
(Paieškoti daugiau šio autoriaus skelbimų)

Kontaktai:
Miestas: Kaunas
Registracija:
tel. : 8-620-86767

Islandijos pl. 99-210, Kaunas,
priešais Šiaurės pr. 29 namą įvažiuoti į garažų masyvą,
važiuoti iki masyvo pabaigos, geltonos sienos, dešinėje
Paieškos žodžiai šiam skelbimui: sistemos kuro padavimo remontas
http://www.skelbimaitau.lt/ ©2026      Pridėti skelbimą  |  Informuotojai  |  Visi skelbimai  |  Naujienos  |  Informacija  |  Kontaktai  |  Vartotojo sutikimas